TIF Description
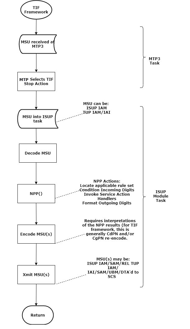
For TIF features, TIF provides an overall structure that allows the vSTP to intercept ISUP messages that would normally be through-switched and apply special processing to them. For example, an IAM message could be intercepted and have the called number prefix replaced based on portability information.
-
TIF uses MTP to select an ISUP MSU for processing, and forwards the MSU to Service Module cards for processing.
-
TIF decodes the MSU, invokes the Numbering Plan Processor (NPP), and encodes the results.
TIF features provide NPP with Service Action Handlers to perform database access, data evaluation, and any feature-specific handling for the MSU.
A high-level overview of TIF processing is shown in the following figure:
Figure 1-1 TIF Overview
